
後見・保佐・補助パック
銀行口座管理や収支登録、さらには収支状況報告書の自動作成など、
firmeeなら、後見事件の必須業務をクラウドで一括管理できます。
-
まとめて情報管理後見・保佐・補助に関する申立人や本人の情報、係属裁判所の情報、やりとりのメモや進捗の管理を直感的に行えます。資産管理として金融口座の情報も簡単登録。
いつでも全事件の横断情報をCSV出力可能です。登録日や最終更新日、担当者などを一元表示できるので、事件管理に最適。CSV出力で横断情報を一目で管理


-
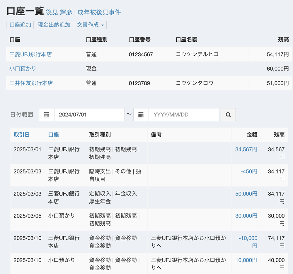
スムーズな口座管理&収支登録口座登録では、口座の基本情報を簡単に登録できて、いつでもウェブで確認できます。金融機関だけでなく小口現金も口座として登録可能です。相互の資金移動も簡単です。
収支登録では、日々の入出金を簡単に管理できます。
後見等業務で頻出の数十の取引種別がプリセットされているから、誰でも直感的に登録できます。裁判所に提出する報告書の様式に合わせ、「収入登録・支出登録」を選択した上、大項目(分類※1)・中項目(項目※2)・小項目(細目※3)が登録されています。被後見人ごとに特別の取引種別を新規に作成することも可能です。
登録された取引は、通帳のように口座ごとに表示させたり、それぞれの取引についてメモを残すことも可能です。※1 分類:「定期収入・臨時収入」と「定期支出・臨時支出」
※2 項目:「年金収入」「保険金」「生活費」「療養費」など
※3 細目:「厚生年金」「国民年金」「共済年金」など口座情報をウェブで簡単管理
取引種別ごとに収支を一つずつ登録可能
-
自動で作成 裁判所への報告書類入力された基本情報や収支登録を書式に応じて集計したりそのまま表示することが可能。
日々登録していた情報が一括反映されるから、書類作成に必要な時間が大幅短縮されます。
作成できる書式は、大きく3種類。いずれも被後見人の情報や事件番号、弁護士情報などが反映された上で、それぞれの書式に対応した情報が自動で登録されます。
1. 収支状況報告書:登録された収支を中項目(項目)ごとに集計して表示されます。エクセル形式で生成されるので、細かな手直しも可能です。
2. 財産目録:登録された口座情報が反映された上で、報告日現在の残高が入力されます。2025 年度版に対応済み。
3. 後見事務等報告書:裁判所の書式に基本情報が反映されて出力されます。裁判所に提出する必要書類が簡単に作成可能
定期的な雛形更新に対応

後見・補佐・補助パック
機能一覧
- 基本情報
-
- 受任情報
- 本人の情報
- 申立人の情報
- 裁判所情報など
- 担当者情報
-
- 担当弁護士
- 秘書の情報等
- 進捗管理
-
- メモやタスク
- 打ち合わせなどのスケジュール
- 後見業務
-
- 立替実費や預かり金の情報
- 報酬情報
- 預かり物
- 預貯金口座の情報
- 日々の収支情報
※関係書類のファイル添付も可能
※関係書類のファイル添付も可能
お客さまの声
-

東京パブリック
法律事務所様数字の正確さが求められ、かつ作業が煩雑になりやすい「財産目録」と「収支状況報告書」が、最新の裁判所の書式に沿った形で出力されます!作業効率があがり、作業時間の短縮につながっています。 -

匿名希望
事務所様入力方法がシンプルでわかりやすく、動作もスムーズで使いやすいです。
内訳データをクラウドで一括で確認できるので、分析にも非常に役立っています。
-
CONTACT US
これからも使いやすさを
アップデートしていきます
声をお寄せください!
ご意見・ご相談

料金プラン

キャンペーン期間中により
firmeeご契約中の方は
無料で全機能を
お試しいただけます!
※firmeeの契約プランは、利用料¥0の「ベーシックプラン」や、有料の「プレミアムプラン」「事務所プラン」がございます。
※契約プランの詳細はこちらから。
-
契約中の方
新規事件作成の「後見等」から無料でお試し!
新規事件作成の「後見等」から
無料でお試し!
無料でお試し -
未契約の方
こちらから新規ご登録!
firmee 新規登録
導入の流れ
-

申込手続き
不要 -

無料で
お試し -

firmeeに登録で
今すぐご利用可能
よくある質問
- Q. 後見パックではどのような情報を管理できますか?
- A.後見等業務に必要なあらゆる情報をクラウド上で管理できます。
後見パックでは、基本情報(受任情報、本人の情報、申立人の情報、裁判所情報など)、担当者情報(担当弁護士、秘書の情報等)、進捗管理(メモやタスク、打ち合わせなどのスケジュール)、立替実費や預かり金の情報、報酬情報、預かり物、預貯金口座の情報、日々の収支情報などを簡単に登録できます。関係書類のファイル添付も可能です。
- Q. 「預貯金口座管理」とはどのような機能ですか?
- A.預貯金口座をクラウド上で管理できる機能です。
後見等業務では、本人の預貯金通帳を預かり、日々の収支を管理することが求められます。後見パックでは、預かった預貯金口座の基本情報を登録し、日々の収支を簡単に管理できます。小口現金も口座として登録することが可能です。小口現金を含めて、口座間の資金移動も簡単に登録できます。
- Q. 「収支登録」とはどのような機能ですか?
- A.日々の収支を登録できます。
後見等業務では、本人の預貯金通帳を預かり、日々の収支管理をすることがあります。後見パックでは、頻出する収支項目がプリセットされているので、選択するだけで簡単に登録できます。事件ごとに新規の終始項目を登録することも可能です。
- Q. 預かり物はどこに登録すればいいですか?
- A.依頼者情報の預かり物欄です。
後見等業務では、預貯金通帳をはじめとする本人の物品を預かることがあります。firmeeでは、依頼者ごとに預かり物を登録できます。後見パックでは、本人の名前をクリックし、編集ボタンから預かり物欄に預かり物を登録することで簡単に預かり物を管理できます。
- Q. 「書類出力機能」とはどのような機能ですか?
- A.裁判所に提出する書類に、登録した情報を反映させて出力する機能です。
法定の後見等業務では、定期的に裁判所への報告が求められます。後見パックでは、収支状況報告書、財産目録、後見事務等報告書の3つの書式を登録しています。firmeeに登録した情報が、それぞれの書式に自動反映されて出力されます。最終チェックをして提出するだけで報告業務が完了します。
CONTACT US
お気軽に
お問い合わせください
firmeeが広く利用されることで、多くの弁護士がテクノロジーの便利さ、 安全さを実感し、
心理的な障壁を取り除き、それにより実務が少しずつ変わっていくことを目指しています。
SERVICE DETAILS
firmeeのその他機能一覧
firmeeでは、後見事件管理以外にも、様々な機能を提供しています。
煩雑な日本の事件管理の効率化を目指し、
弁護士の皆様が、家庭や趣味、他の有益な実務に費やせる時間が増え、
社会がもっと豊かになることを願っています。
-
情報や
作業ログの
一元管理
-
簡単
コンフリ
チェック
-
手持ちデータの
一括インポート
-
充実した
外部サービス
連携
-
入力情報の
雛形作成
-
インボイス・
電話帳対応
快適な事件管理をぜひご体験ください
登録不要のデモを試すCopyright © 2025 firmee










